- 超声波硬度计核心优势和使用注意事项[2024/09/19]
- 金属探伤仪[2024/09/19]
- 维氏硬度试验的分类和试验力选择[2020/06/09]
- 洛氏硬度、布氏硬度等硬度对照表和换算方法[2020/06/09]
- 金属材料硬度基础知识[2020/06/09]
时代TIME3234高精度粗糙度轮廓波纹度仪

产品名称:TIME3234高精度粗糙度轮廓仪
上架时间:2019
品牌名称:时代
售前咨询: 400-860-1787
产品优势:
• 全国博士后流动站
• 国内外市场占有率高
企业优势:
• 通过ISO-9000标准认证
• 国内先进的仪器制造企业
一、产品简介
TIME®3234 波纹度测量仪是便携式触针式波纹度测量仪,适用于生产车间、实验室、计量室等环境的检测。它能够评定粗糙度、波纹度和原始轮廓。测量结果可以数字和图形方式显示在液晶显示器上,也可以输出到打印机上。还可以连接到电脑,使用本公司的专用分析软件进行高级分析。
TIME®3234
波纹度测量仪符合下列标准:
❉
GB/T 3505-2009/ISO 4287
产品几何技术规范(
GPS
)表面结构 轮廓法 术语、定义及表面结构参数
❉
GB/T 6062-2009/ISO 3274
产品几何技术规范(
GPS
)表面结构 轮廓法 接触(触针)式仪器的标称特性
❉
GB/T 18618-2009 /ISO 12085
产品几何技术规范(
GPS
)表面结构 轮廓法 图形参数
❉
PV 1054:2015-02
钢板车身外表面波纹度检测
❉ SEP1941-2012 冷轧金属扁平轧材波纹度特征值 Wsa ( 1-5 )的检测
二、工作原理
本仪器采用大量程的差动电感传感器拾取被测信号,测量工件表面时,将传感器放在工件被测表面上,由驱动器带动传感器沿被测表面做等速直线滑行,驱动器中的直线导轨保证直线轨迹的精度。传感器通过锐利的金刚石触针感受被测表面的轮廓变化,此时工件被测表面轮廓起伏引起触针产生垂直位移,该位移使差动传感器电感线圈的电感量发生相应变化,该变化信号经过调制放大处理后产生与被测表面轮廓成一定比例的模拟信号,该信号经过电平转换之后被送到数据采集系统转换成一系列数据,核心处理器对这些数据进行数字滤波和参数计算,测量结果在仪器液晶显示屏上显示,也可在打印机上输出,还可以与 PC 机进行通讯后,在 PC 机上进行更复杂的分析评估。
三、
产品特点
❉
采用
linux
操作系统,计算精度高,数据处理速度快,具有良好人机交互界面;
❉
分体式设计,使用方便;
❉
便携式设计,易于携带;
❉
可测量粗糙度轮廓参数、波纹度轮廓参数和原始轮廓参数;
❉
测量范围
1000
μ
m
,测量驱动器行程
❉
5.7
吋
TFT
液晶显示器,可大画面显示评价曲线;
❉
带触摸屏,可在触摸屏上进行测量设置,操作快捷;
❉
带鼠标操作;
❉
存储
10000
组测量条件和测量数据;
❉
测量数据可存入
U
盘;
❉
带导头
/
无导头测量;
❉
打印测量参数、轮廓曲线;
❉
可配置
Windows
高级分析软件;
❉ 支持 ISO 4287-1997 、 JIS 0601 : 2001 、 ANSI 、 SEP1941-2012 等粗糙度标准。
四、技术参数
|
项目
|
描述
|
|
轮廓
|
R
、
W
、
P
、
R-Motif
、
W-Motif
|
|
测量参数
|
见附表
1
|
|
滤波
|
Gauss, 2RC
|
|
取样长度
l
|
|
|
评定长度
ln
|
(1-5)
l
|
|
测量范围
|
1000
μ
m
(±
500
μ
m
)
|
|
最高分辨率
|
0.0003
μ
m
|
|
驱动行程
|
|
|
示值误差
|
±5%(
带导头
)
,
±10%(
无导头
)
,
|
|
示值重复性
|
1.5%(
带导头
)
,
3%(
无导头
)
|
|
存储
|
10000
组测量条件和测量数据
|
|
接口
|
RS232
,
USB
|
|
电源
|
内置锂离子充电电池
/
外接电源适配器
|
|
工作温度
|
|
|
储存温度
|
|
|
相对湿度
|
<90
%
|
|
主机尺寸
|
|
|
主机重量
|
|
|
驱动器尺寸
|
|
|
驱动器重量
(带波纹度仪便携支架)
|
|
|
电源适配器
|
输入:
100 V
~
240VAC
,
50/60Hz
输出:
9V
,
|
附表
1
|
标准
|
轮廓曲线
|
参数
|
|
ISO1997
|
R
|
Ra
,
Rq
,
Rz
,
Rp
,
Rv
,
Rsk, Rku, Rc, RPc
﹡
, RSm, R
△
q
,
Rmr
﹡
,
Rmr(c)
﹡
,R
δ
c
﹡
,
Rt
,
Rz1max
,
Rk
,
Rpk
,
Rvk
,
Mr1
,
Mr2
,
A1
,
A2
,
Vo
|
|
P
|
Pa, Pq, Pz
,
Pp
,
Pv
,
Psk
,
Pku
,
Pc
,
PPc
﹡
, PSm, P
△
q
,
Pmr
﹡
,
Pmr(c)
﹡
, P
δ
c
﹡
,
Pt, Pz1max
|
|
|
W
|
Wa
,
Wq
,
Wz
,
Wp
,
Wv
,
Wsk
,
Wku, Wc
,
WPc1
,
WSm
,
W
△
q
,
Wmr
﹡
,
Wmr(c)
﹡
,
W
δ
c
﹡
,
Wt
,
Wz1max
|
|
|
JIS2001
|
R
|
Ra
,
Rq
,
Rz
,
Rp
,
Rv
,
Rsk, Rku, Rc, RSm, RzJIS
,
R
△
q
,
Rmr
﹡
,
Rmr(c)
﹡
,R
δ
c
﹡
,
Rt
,
|
|
P
|
Pa, Pq, Pz
,
Pp
,
Pv
,
Psk
,
Pku
,
Pc
,
PSm, PzJIS
,
P
△
q
,
Pmr
﹡
,
Pmr(c)
﹡
, P
δ
c
﹡
,
Pt
|
|
|
W
|
Wa
,
Wq
,
Wz
,
Wp
,
Wv
,
Wsk
,
Wku, Wc
,
WSm
,
WzJIS
,
W
△
q
,
Wmr
﹡
,
Wmr(c)
﹡
,
W
δ
c
﹡
,
Wt
|
|
|
ANSI
|
R
|
Ra
,
Rq
,
Rz
,
Rp
,
Rv
,
Rsk, Rku, RPc
﹡
, RSm, R
△
a
,
R
△
q
,
Htp
﹡
,
tp
﹡
,
Rt
,
Rmax
,
Rpm
|
|
W
|
Wa
,
Wq
,
Wz
,
Wp
,
Wv
,
Wsk, Wku, WPc
﹡
, WSm, W
△
a
,
W
△
q
,
Htp
﹡
,
tp
﹡
,
Wt
,
Wmax
,
Wpm
|
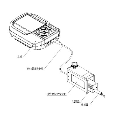
五、基本配置
|
主机
|
1
台
|
|
驱动器
|
1
个
|
|
标准传感器
|
1
支
|
|
波纹度仪便携支架
|
1
个
|
|
MiniUSB
线
缆
|
1
根
|
|
多刻线样板
|
1
块
|
|
电源适配器
|
1
个
|
|
使用说明书
|
1
本
|
注:传感器应当具有良好的保护(具体方式为:提供测针保护套,至少需要两种,带导头和不带导头),以避免可能的侧面碰撞损坏传感器。在正常操作,无人为损坏的情况下,整机(含传感器)的质保期为一年。



.jpg)